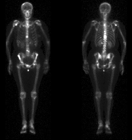
Scintigrafia osoasă evaluează metabolismul osos şi anatomia scheletală şi este una dintre cele mai frecvente aplicaţii diagnostice ale medicinii nucleare.
Imaginile scintigrafice sunt realizate după administrarea intravenoasă a unui radiofarmaceutic osteotrop (frecvent un bifosfonat, din aceeaşi clasă de substanţe ca şi cele cu care se face tratamentul osteoporozei), care, prin fixarea la nivelul scheletului osos va permite vizualizarea acestuia.
Depistarea prezenţei metastazelor osoase, mai ales în cancerele pulmonare, mamare şi prostată, reprezintă cea mai frecventă indicaţie a scintigrafiei osoase, deoarece nu există altă metodă de detecţie mai rapidă şi ieftină. Scintigrafia este uşor de realizat, sensibilă şi fără contraindicaţii şi deosebit de utilă pentru stadializarea afecţiunii, mai ales ţinând cont că circa 30% dintre pacienţi au deja metastaze osoase în momentul diagnosticului. Scintigrafic, metastazele osoase vor apărea ca multiple focare, hipercaptante diseminate la nivelul întregului schelet. Multe dintre leziuni sunt nevizualizabile pe imaginile radiografice, cu o simptomatologie minimă, scintigrafia permiţând astfel detectarea acestora cu mult timp înainte de a fi vizualizate radiografic.
Terapia paliativă a durerii determinate de metastazele osoase
Cei mai mulţi dintre pacienţii cu metastaze osoase au dureri intense care, dacă la început pot fi controlate medicamentos, ulterior ajung să nu mai răspundă la tratament. Una dintre opţiunile terapeutice o constituie terapia radionuclidică cu Sr-89, care, prin concentrarea la nivelul leziunilor metastatice, va acţiona numai la acest nivel, fără a afecta ţesuturile din jur (Sr-89 are emisie β cu energie mare şi un parcurs scurt, de câţiva mm).Terapia constă în injectarea intravenoasă a unei singure doze (148 Mbq sau 4 mCi de Sr-89), fără ca pacientul să necesite internare. După circa 10-20 zile de la administrare, se obţine o îmbunătăţire netă a calităţii vieţii pacientului, prin scăderea durerilor osoase. Înainte de terapia cu Sr-89, este necesară efectuarea unei scintigrafii osoase (care să ateste metastazele osoase) şi a unei hemoleucograme complete (este necesar ca numărul de leucocite să fie peste 2 400 şi de trombocite peste 60.000). Pacientul va respecta pentru circa 10 zile recomandările igienico-dietetice date de medicul de medicină nucleară. Este de menţionat că acest tratament nu interferează cu tratamentele chimioterapie ale pacienţilor. În ceea ce priveşte radioterapia, este bine să nu se facă în acelaşi timp, lăsându-se un interval de timp de circa 2-3 luni între aceste proceduri radioterapeutice. La noi în ţară Sr-89 este disponibil sub denumirea comercială de Metastron şi se administrează în cadrul unora dintre Laboratoarelor de Medicină Nucleară.



























flory
mi sa recomnadat scintigrafie ptr ca am dureri de lombara de 4 luni si dureri de pisior si umar...cum se face aceasta analiza?prin sange?k imi este frik:(
Oct. 21, 2011, 12:04 p.m.LUCA
Buna ziua doamna doctor,\r\nSunt diagnosticat din oct 2013 cu cancer de prostate(GLEASON &(3+4)),urmez tratament hormonal la IOB si perfuzii la 3 sapt cu ZOMETA ptr metastaze osoase.De 3 saptamini ma confront cu dureri mari in zona lombara continuata pe picorul stang, antiimflamatoarele nu mai au practic mare efect. Am citit articolele dvs , despre SR89,in astfel de situatii. Fiind pensionar , as indrazni sa intreb cit costa o astfel de tratament ??\r\nCu deosebita stima
Sept. 19, 2014, 3:51 p.m.Ionita Claudiu
Buna ziua. Socrul meu este in perioada de remisie a Limfonului. La controlul anual cu substanta de contrast nu s-au constatat probleme, dar doctorul ne-a zis ca ar fi suspect de tuberculoza osoasa, deoarece ar avea vertebrele T11 si T12 "mancate". El acuza dureri mari de spate cu transpiratii noctorune de o luna de zile. Cum am putea sau unde am putea sa aflam daca este Metastaza osoasa ? Multumesc.
Jan. 10, 2015, 8:17 p.m.Ionita Claudiu
Buna ziua. Socrul meu este in perioada de remisie a Limfonului. La controlul anual cu substanta de contrast nu s-au constatat probleme, dar doctorul ne-a zis ca ar fi suspect de tuberculoza osoasa, deoarece ar avea vertebrele T11 si T12 "mancate". El acuza dureri mari de spate cu transpiratii noctorune de o luna de zile. Cum am putea sau unde am putea sa aflam daca este Metastaza osoasa ? Multumesc. Revin cu detalii....peste 2 saptamani este programat la un RMN si o "analiza speciala" care diagnosticheaza Tuberculoza osoasa.
Jan. 10, 2015, 8:26 p.m.Cosa Monica
Am cancer pulmonar gr.2 operat de doi ani de o luna ma dor tare oasele in tot corpul oare am metastaze osoase? D
March 30, 2017, 8:55 p.m.Klara
Buna ziua!rnVa rog sa-mi interpretați si mie acest rezultat.rnFocare hiperfixante a radiotrasorului situate la nivelul vertebrei T6 si aripii iliace stângi (in regiunea articulara ) substrat incert.rnCaptare crescută a radiotrasorului la nivelul articulatiilor scapulo-humerale, articulatiei vertebrale L5-S1 stanga, articulatiei genunchiului stâng și articulatiei tibio-tarsiene drepte - substrat degenerativ inflamator.rnCaptare in limite normale a radiotrasorului in restul sistemului osteo-articular.rnConcluzii: rnFocare hiperfixante la nivelul vertebrei T6 - si aripii iliace stângi ( in regiunea articulara) substrat incert (degerativ/ontologic?) de corelat cu examenul CT.rnProcese degenerativ -inflamatorii osteo-articulare. rn Va multumesc!
Aug. 16, 2018, 11:44 a.m.Dary
Bună ziua asi dori și eu o interpretare a rezultatelor scintigrafiei.Focar hiperfixant pentru radiotransor situat la nivelul zingomaticului stâng substrat incert.va mulțumesc
July 10, 2019, 8:10 a.m.