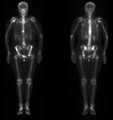
Scintigrafia osoasă evaluează metabolismul osos şi anatomia scheletală şi este una dintre cele mai frecvente aplicaţii diagnostice ale medicinii nucleare.
Imaginile scintigrafice sunt realizate după administrarea intravenoasă a unui radiofarmaceutic osteotrop (frecvent un bifosfonat, din aceeaşi clasă de substanţe ca şi cele cu care se face tratamentul osteoporozei), care, prin fixarea la nivelul scheletului osos va permite vizualizarea acestuia.
Depistarea prezenţei metastazelor osoase, mai ales în cancerele pulmonare, mamare şi prostată, reprezintă cea mai frecventă indicaţie a scintigrafiei osoase, deoarece nu există altă metodă de detecţie mai rapidă şi ieftină. Scintigrafia este uşor de realizat, sensibilă şi fără contraindicaţii şi deosebit de utilă pentru stadializarea afecţiunii, mai ales ţinând cont că circa 30% dintre pacienţi au deja metastaze osoase în momentul diagnosticului. Scintigrafic, metastazele osoase vor apărea ca multiple focare, hipercaptante diseminate la nivelul întregului schelet. Multe dintre leziuni sunt nevizualizabile pe imaginile radiografice, cu o simptomatologie minimă, scintigrafia permiţând astfel detectarea acestora cu mult timp înainte de a fi vizualizate radiografic.
Terapia paliativă a durerii determinate de metastazele osoase
Cei mai mulţi dintre pacienţii cu metastaze osoase au dureri intense care, dacă la început pot fi controlate medicamentos, ulterior ajung să nu mai răspundă la tratament. Una dintre opţiunile terapeutice o constituie terapia radionuclidică cu Sr-89, care, prin concentrarea la nivelul leziunilor metastatice, va acţiona numai la acest nivel, fără a afecta ţesuturile din jur (Sr-89 are emisie β cu energie mare şi un parcurs scurt, de câţiva mm).Terapia constă în injectarea intravenoasă a unei singure doze (148 Mbq sau 4 mCi de Sr-89), fără ca pacientul să necesite internare. După circa 10-20 zile de la administrare, se obţine o îmbunătăţire netă a calităţii vieţii pacientului, prin scăderea durerilor osoase. Înainte de terapia cu Sr-89, este necesară efectuarea unei scintigrafii osoase (care să ateste metastazele osoase) şi a unei hemoleucograme complete (este necesar ca numărul de leucocite să fie peste 2 400 şi de trombocite peste 60.000). Pacientul va respecta pentru circa 10 zile recomandările igienico-dietetice date de medicul de medicină nucleară. Este de menţionat că acest tratament nu interferează cu tratamentele chimioterapie ale pacienţilor. În ceea ce priveşte radioterapia, este bine să nu se facă în acelaşi timp, lăsându-se un interval de timp de circa 2-3 luni între aceste proceduri radioterapeutice. La noi în ţară Sr-89 este disponibil sub denumirea comercială de Metastron şi se administrează în cadrul unora dintre Laboratoarelor de Medicină Nucleară.


























